NHFSX50 超声波风速风向传感器
一、产品简介
超声波风速风向传感器是一款全数字化检测,高精度传感器,是由超声波风速风向传感器集成,可准确、快速检测出风速、风向,内置信号处理单元能根据用户需求输出相应信号,具有结构轻巧紧凑、没有移动部件,高强度结构设计可在恶劣气候环境中准确检测,超声波风速风向具有准确而稳定的要素测量、低维护、开放式通讯协议等特点,该超声波测风仪可广泛用于气象、海洋、环境、船舶、机场、港口、实验室、吊车、桥梁、缆车、工农业及交通等任何需要测量风速风向的场所。
二、产品特点
超声波风速风向传感器,具有质量轻、坚固耐用的特点,没有任何移动部件,不需维护和现场校准,能同时输出风速和风向。
可以与电脑、数据采集器或其它具有与提供的通讯格式相一致的采集设备连用。
三、技术参数
| 项目 | 测量范围 | 精度 | 分辨率 |
| 风速 | 0-35m/s | 4% | 0.1m/s |
| 风向 | 0-359° | ±4° | 1° |
| 数字输出 | RS232、RS485、电流,SDI-12(选其一) | ||
| 通讯协议 | ModBus、NMEA-0183 | ||
| 防护等级 | IP65 | ||
| 操作温湿度 | -40℃ - +80℃;0 - 100% | ||
| 供电电源 | VDC: 5-12V ;0.09W | ||
| 外型尺寸/重量 | Φ66×64mm 53g | ||
| 材料 | ASA | ||
四、产品尺寸图

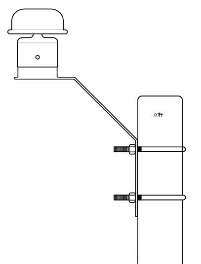
五、安装方式
